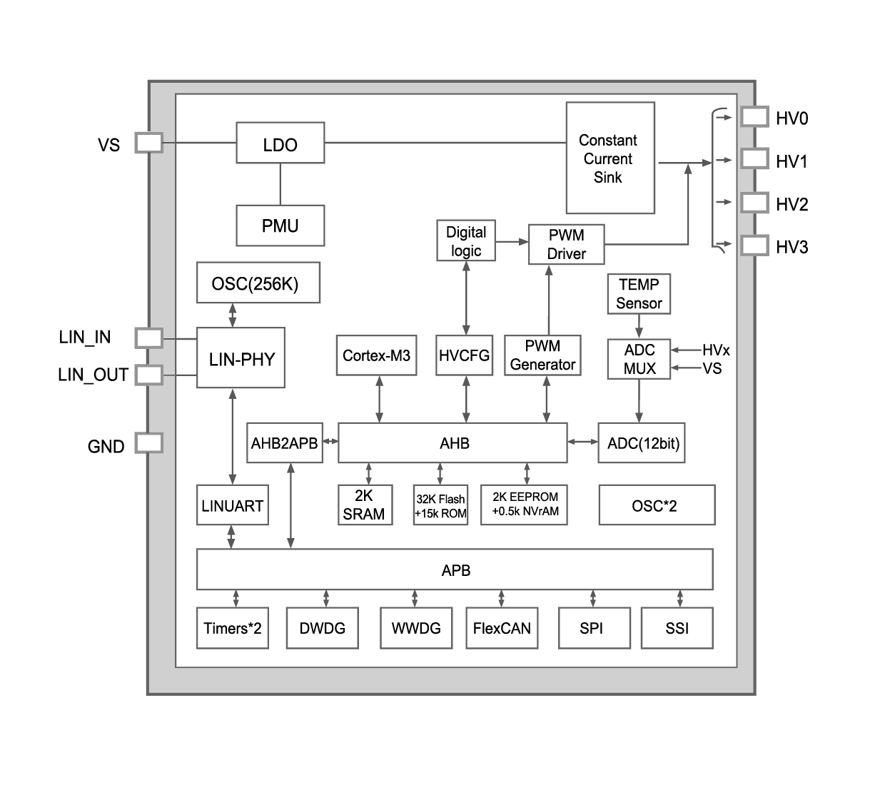
NSUC1500 is an ARM Cortex-M3 MCU with integrated 4 LED drivers to control ambient light of RGB (or RGBW). It provides a 32-bit microcontroller with 32KB Flash, 2KB EEPROM, 15KB ROM, LDO, and a LIN transceiver supporting LIN auto-addressing. It also supports UDS to upgrade software by using ROM code, which means it doesn't need to occupy any size of flash. Furthermore, there are 4 channels of EPWM which are 16 bits with a 32MHz clock. Each channel of LED drivers can supply current up to 64mA. For temperature compensation and PN junction voltage management, it is integrated with temperature sensor and voltage sensing circuitry which can be sampled by ADC. Furthermore, with the ADC getting the differential forward voltage of RGB, it can be implemented to do effective compensation for full range of LED temperature and long time drift.
Product Features
• ARM Cortex - M3 32bit core
• 32KBytes Flash(ECC), 2KBytes EEPROM(ECC)
• 2KBytes SRAM, 512B data RAM, 512Bytes NVR(ECC)
• 32MHz high precision oscillator
• 35KHz Low power and low speed clock
• PLL with wide band(Up to 32MHz)
• 6V to 28V wide supply voltage range
• One 12 - bit high precision ADC
• 4 high - precision LED drivers with currents up to 64mA
• LIN PHY & LINUART Controller supports LIN 2.x and SAE J2602
• Four enhanced PWM(16 bits) output for LED
• Two 16 bits General Timers
• One digital watchdog and one window watchdog
• One SPI(Master) and One SSI(Slave) supports 4 or 3 wires communication
• Frequency spread spectrum (internal clock)
• Full protections and diagnostics:
Fault of LIN interface
Fault of RGB
Fault of voltage supply
Thermal shutdown
• Support UDS boot loader in ROM
• QFN - 24 / SOP8 / HSOP8
• AEC - Q100 Grade 1
• ROHS & Reach
Application
• Automotive Interior ambient light
• Automotive charging door ambient light
Functional Block Diagram


For more product information, please contact us.